超七成收入来自广告,宝宝巴士为不良广告致歉
21世纪经济报道记者 刘婧汐
近日,宝宝巴士旗下“宝宝巴士儿歌”App被曝开屏广告跳转至低俗擦边直播内容或情色视频广告,开屏和弹窗广告的关闭键非常小,点击后会自动下载陌生软件,引发家长担忧和舆论热议。
10月29日上午,宝宝巴士相关负责人回应媒体称,出现在APP上的问题广告是第三方平台接入广告,此次事件严重影响了用户的使用体验,对此他们表示诚挚的歉意。29日中午,宝宝巴士官方致歉并宣布整改措施:下线相关广告、立即停止合作、严肃处理审核负责人、完善广告审核机制,并研发强制拦截功。

图片来源于网络,如有侵权,请联系删除

据悉,成立于2009年的宝宝巴士是“专注于0-8岁儿童启蒙数字内容提供商”,主业为研发、制作、运营音视频、APP等产品。
其曾在2021年7月冲击创业板IPO,后被深交所终止。从招股书中可以看出,广告变现为其主要变现方式,占比超七成。
招股书显示,2018年至2020年,宝宝巴士的营收分别为2.54亿元、5.26亿元、6.49亿元。其中APP合作推广的收入分别为1.85亿元、3.83亿元、4.98亿元,占营收的比重分别高达72.7%、72.87%、76.76%。
此外,宝宝巴士高度依赖头部的广告客户,连续三年约一半的年收入来自百度。2020年,百度为宝宝巴士贡献的收入占其总营收的50.74%。招股书显示,其前五大客户分别是百度、谷歌、腾讯、北京万裕久鑫科技有限公司、字节跳动。
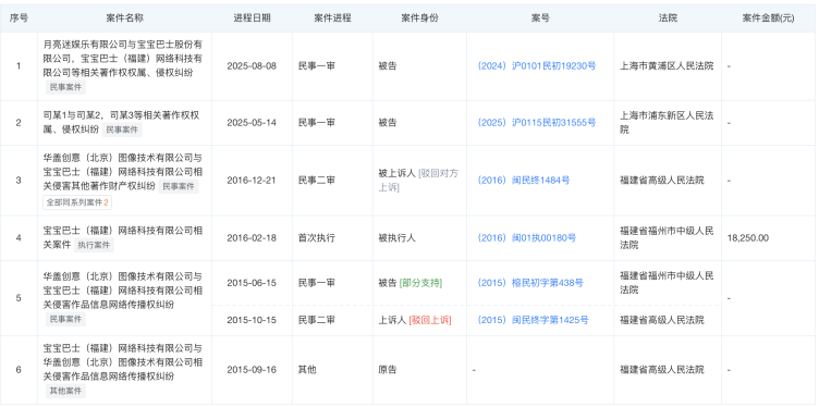
另天眼查显示,该公司曾多次因著作权归属、侵权纠纷,侵害作品信息网络传播权纠纷等被起诉。
图源:天眼查
